Läppäventtiili, runko valurautaa, läppä ruostumatonta terästä, laippakiinnitys. Vulkanoitu NBR-vuoraus. käsivivulla tai -vaihteella, myös alipaineelle.
| Mitta-alue (DN) | 50 - 2200 |
|---|---|
| PN | 10 |
| Lämpötila (°C) | 0 - 200 |
| Materiaali pääosin | Pallografiittivalurauta |
| AT-numero | DN | PN | Lämpötila (°C) | Ohjaus | Korroosiosuojaus |
|---|---|---|---|---|---|
| AT 2319-200 | 200 | 10 | 0 - 200 | C3 (EN ISO 12944-2) |
Sulku- ja säätökäyttöön teollisuusprosesseihin nesteille ja kaasuille.Kylmälle ja kuumalle vedelle, raakavesijärjestelmiin, pumppaamoihin, laivojen lastivesille, jäähdytysjärjestelmiin, jauheen ja lietteensiirtoon, sprinkler- ja palovesijärjestelmiin, vedenkäsittely ja -puhdistusjärjestelmiin, paineilmalle, alipaineelle. Nitriili-kumi (NBR): kylmälle vedelle, jauheille, hiilivetyyhdisteille (pitoisuus max. 30%, +20°C), ilma, neutraalit kaasut.EPDM-kumi: Lämmin vesi, ilma, neutraalit kaasut, laimennetut orgaaniset hapot, alkoholit (max. 30%)Viton-kumi: hiilivetyyhdisteet, öljyt, kuuma ilma (max +200°C)
PSB.2 Puukkoventtiilit
AFS 2023:5, PED 2014/68/EU
Tuote on CE-merkitty
| Pos | Komponentti | Materiaali |
|---|---|---|
| 1 | Venttiilipesä | Pallografiittivalurauta GJS-400-15 (GGG40) |
| 2 | Levyluisti | Ruostumaton duplex-teräs (1.4462) |
| 3 | Vuori | FPM/FKM (fluorikumi) |

Mitta-alue (DN): 50 - 2200
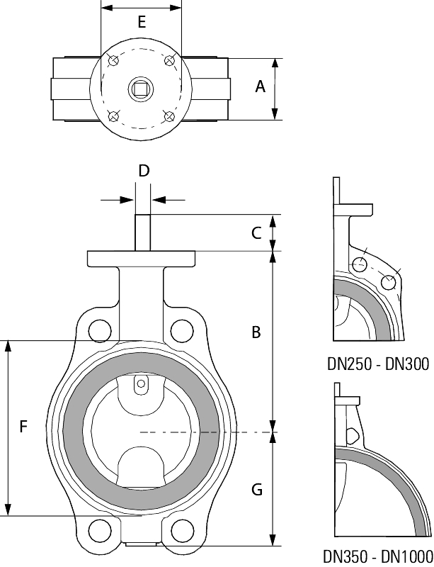
| DN | 200 |
|---|---|
| A | 60 |
| B | 204 |
| C | 158 |
| Nettopaino (kg) | 14 |
Täysin tiivis huoltovapaa läppäventtiili, jossa keskitetty läppä ja laakeroitu akseli.Yhtenäinen valettu runko, jossa vulkanoitu kumivuoraus,joka suojaa venttiilin rungon sisäpinnat korroosiolta sekä toimii laippatiivisteenä.Rakennepituus standardien SS-ISO 5752, lyhyt sarja, mukaisesti.Läppäventtiili AT 2310-11 DN 50-200 toimitetaan vakiona korkealla karakauluksella varustettuna putkiston eristyksiä varten.Ylälaippa ISO 5211 mukaisesti.AT 2310 ja AT 2311 on varustettu kiinnityskorvakkeilla kokoon DN 300 saakka.AT 2312, AT 2313 ja AT 2314 on varustettu kiinnityskorvakkeilla kokoon DN 200saakka.Rakenteensa ansiosta venttiili säilyttää tiivistysominaisuutensa myös yksipuolisessa laippa-asennuksessa, esim. putkiston päätyventtiilinä.
Materiaali pääosin: Pallografiittivalurauta
Päämateriaalin koodi: Pallografiittivalurauta GJS-400-15 (GGG40)
Saapuvat materiaalit: Ruostumaton teräs, Kumi, Pallografiittivalurauta
Sisältyvä materiaalikoodi: Ruostumaton duplex-teräs (1.4462), Pallografiittivalurauta GJS-400-15 (GGG40), FPM/FKM (fluorikumi)
Lämpötila (°C): 0 - 200
PN: 10
Liitäntä: Laipallinen EN1092
ETIM-luokitus: EC010910 - Läppäventtiili
BK04-koodi: 20706 Yksilehtiset venttiilit
Tuotteen väri: RAL 2000 - Keltaoranssi
Virtaussuunta: Kaksisuuntainen
Mahdollinen asennusasento: Pystysuora, Vaakasuora
Venttiiili on tarkoitettu asennettavaksi laippojen väliin ilman tasotiivistettä.Venttiili voidaan asentaa myös vaakasuoraan.Läpän vaatiman avautumisliikkeen tila on huomioitava.